?
? ? ? ?對有故障的蓄電池,不要輕易拆卸。經檢查確定需要拆卸修理時,再進行拆卸。
一、折前放電
? ? ? ?未經放電的極板,離開電液遇到空氣,其活性物質被氧化,容易脫落,同時,如將此極板再浸入電液與硫酸作用、生成硫酸鉛的粗大晶粒而被硫化。為了保護極板在拆卸中不受損害,在拆前應先放電。
? ? ? ?放電電路參看圖(4-6)及(4-7)所示。放電電流應略小于10小時率,放電至單格電壓為1.70伏為止。蓄電池放電后,將電液倒出保存備用。

二、折連接條
? ? ? ?拆連接條和電極樁頭常用以下三種方法:
? ? ? ?1、鉆孔法:用手搖鉆或電鉆在電極樁頭中心處,鉆直徑10~15毫米、深5~6毫米的孔,以便取下完整的連接條。
? ? ? ?2、熔化法:用酒精噴燈或焊槍火焰,炭棒電焊熔化連接條與電極樁頭的連接處。
? ? ? ?3、鋸斷法:如不更換舊極板,可用鋼鋸鋸斷連鑄條,便于修復后焊接使用。
三、取單室蓋
? ? ? ?用噴燈或焊槍火焰加熱燒熔封口膠,或用開水燙軟封口膠后,用改刀或小刀鏟去,也可以用電烙鐵對封口膠邊加熱邊鏟除。
? ? ? ?鏟下的封口膠,用水沖洗,除去硫酸,仍可使用。鏟去封口膠,便可取出單格室蓋。
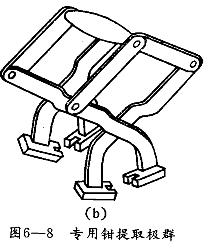
四、拔出極群
? ? ? ?拔出極群的辦法有兩種:一種如圖(6-8)所示,用專用鉗取出,二種如圖(6-9)所示,用丁字勾提出。

五、漂洗極群
? ? ? ?取下極群,要用清水漂洗,不宜刷洗或沖洗。極群清洗千凈后,將正負極群分開放于純水槽中,全部浸沒,免受氧化。如極板柵完好,無硫化現象,可以繼續使用多如活性物質腫脹、硬化、泡狀或脫膏嚴重,均應換新。對可用的極板,用木質小鏟,仔細除去凸出的瘤狀物,用細流水沖洗二小時。如不立即使用,可放于千燥箱內,用40-50℃的溫度烘干,存放備用。
六、隔板處理
? ? ? ?對木隔板、紙隔板一般是不能再用的。塑料、橡膠、玻璃絲等隔板,如未損壞變質,清洗后仍可使用。
七、其它
? ? ? ?外殼要用清水沖洗,除去沉淀,刮凈封口膠,仔細檢查有無裂紋。有裂紋的,修好后再用;無裂紋的,用純水沖凈備用。
? ? ? ?其它零件都要沖洗千凈。對鉛零件,要刷洗,并刮去氧化層,對銅螺栓,洗千凈后,要涂凡士林保護。對腐蝕嚴重的,要換新品,對有輕微損傷的,要修復后再用。