?
? ? ? ? 充電接受率與電流衰減指數的關系
? ? ? ??根據馬斯理論推導出如下公式:

? ? ? ??其中α為任意時刻的電流衰減指數;i為任意時刻充電電流;為待充入容量.? ? ? ??
? ? ? ? 在分段充電過程中,電流接受率α呈階段性變化:

? ? ? ??由于在如圖1所示的恒流一恒壓充電模式中,to~tmid區間電流衰減指數接近“理想充電”狀態中的充電接受率,因此將電流急劇衰減段的。稱為電流衰減指數。

? ? ? ??由此得出結論,電流衰減指數與充電接受率的關系:充電接受率大,電流衰減指數大;充電接受率小,則電流衰減指數小。即可以用電流衰減指數表征充電接受率。
? ? ? ??實驗中觀測到,tmid時刻停止充電,穩定5h后電解液的密度一般達到1.25kg/m3左右,根據公式:


? ? ? ??電流衰減指數與初始充電電流的關系
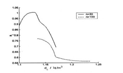
? ? ? ??以上分析表明,成品電池充電接受能力強,其電流衰減指數大,因此快速充電的關鍵是提高電流衰減指數。由式(2)分析,任意時刻的電流衰減指數取決于充電電流與待充入的容量之比。當初始待充入容量Cr,一定時(初始電解液密度相同),電池:越大(即充電接受能力越強),允許初始充電電流越大;反之,當電池性能變差時,充電接受能力變差,電池α變小,其允許的初始充電電流越小。對于充電接受能力相同的電池,待充入容量Cr,越小(即初始電解液密度越大),允許初始充電電流越小;反之,允許初始充電電流越大。根據試驗結果繪制出初始電解液密度與初始充電電流對應所得到的電流衰減指數,如圖4。試驗結果顯示:
? ? ? ??1) 相同的初始電解液密度(待充人容量),采用不同的初始充電電流可獲得不同的電流衰減指數。? ? ? ?
? ? ? ? 2) 對于相同的初始充電電流,不同的初始電解液密度(待充入容量)下得到的電流衰減指數也不同。
